
To be less vague, Benz has invented a system that would use your unique hand to unlock and start your car instead of needing the key.To be less vague, Benz has invented a system that would use your unique hand to unlock and start your car instead of needing the key.
Mercedes Wanted A Low-Power Scanner
As the patent points out, biometric systems are becoming more common as a way to access your vehicle. Hyundai, for example, offers a fingerprint reader to unlock and start some of its vehicles. Genesis goes more upscale, and can use facial recognition to let you get into your car.
Mercedes-Benz says that those systems use "significant amounts of energy." We wouldn't have expected a fingerprint scanner to suck down that much juice, but in the patent Benz claims these systems use enough power to reduce range. It wanted to create one that could sit in a lower power state until a user is detected, and that makes the patent a two-parter. Actually, it's more like a three-parter, because Mercedes-Benz wants to make sure the baddies can't take your Mercedes-Benz with your cold, dead hands.
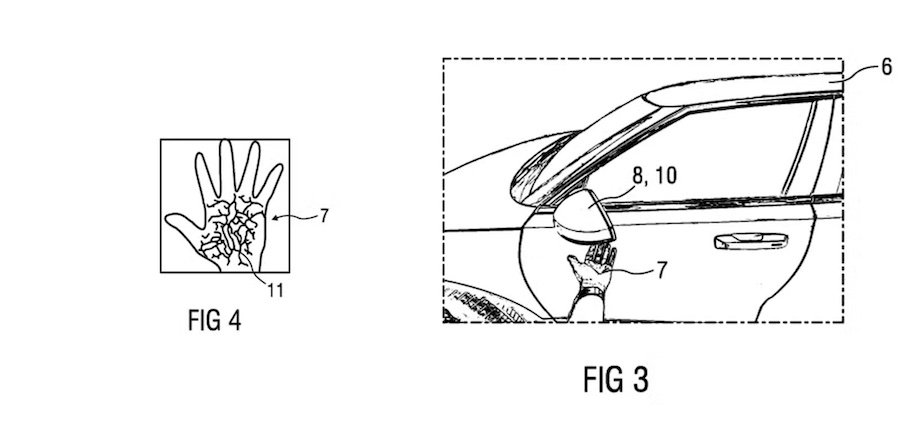
The first part of the mechanism is the palm reader. It doesn't use tea leaves or trace a bony finger over your hand. It uses an infrared camera that has software to look for the veins in your palm. Mercedes says that near-infrared light is good at detecting those lines in the hand.
We're not yet in the realm of Star Trek, but these super-cool tech features are closer than you think.
Benz suggests putting the scanner in the B-pillar, though we suggest that would require an awkward gesture to unlock the car's doors. Especially on a taller SUV. It also says the scanner could go under the mirror, letting you awkwardly caress your car to get in.
High Security And High Wow-Factor
This type of scanner can go into a lower power mode and quickly be ready when needed, fulfilling the need for low power consumption. Benz also talks about encrypting the data of your hand, which could be kept inside the vehicle instead of transmitted over a network. This is a more secure way to keep the information safe.
To tell the system when to power up, Mercedes engineers propose a living body detection device. This detects a person approaching the vehicle by measuring changes in the static electricity surrounding the car. A live person would have a static charge, a dead one would not. The touchscreen of your phone uses a similar principle.
When a live body gets close enough, the scanner comes online. It scans your palm, and then the car decides if it should let you in or not.
Is this all vastly more complicated than simply having a key fob in your pocket? Yes. But it's seen as more convenient, and buyers want convenience. They also want more features, which has automakers struggling to find new ones to bring you.
A palm scanner could also save automakers money in other areas. A driving force behind push-button ignition was that it used fewer parts than a traditional key and cylinder (plus that small GM recall of 2014).
We all know you shouldn't cross the streams, but that hasn't stopped this new AMG V8.
But the real perk is that it would be cool. "This is not the Benz you are looking for," you could say as you wave your hand to unlock your car. Or the ever-popular "open sesame!" If this were to ever reach production, Mercedes could become the new nerd vehicle of choice.
Related News