
Mercedes was a pioneer in the latter, which came about initially to make it possible for occupants to get into a sports car with extremely high sills. The company isn't done innovating on the door front, though, as a recent patent shows. Although, to be more accurate, it actually has more to do with the roof.
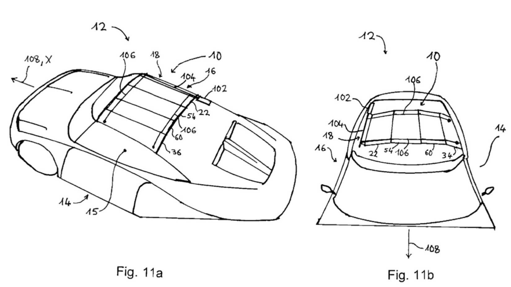
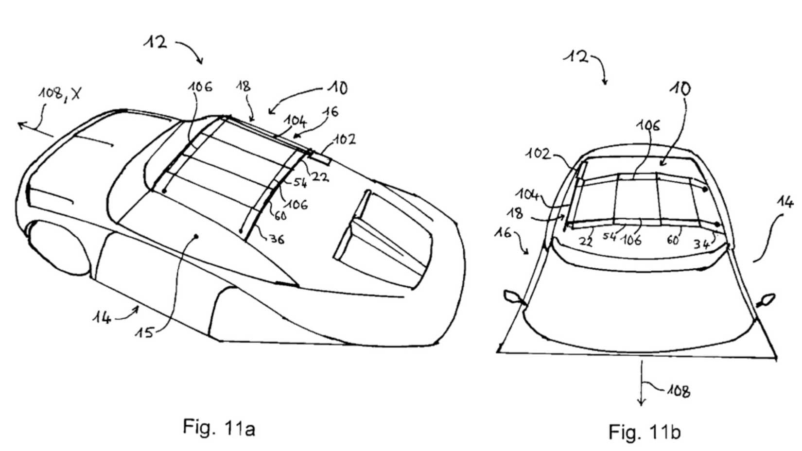
CarBuzz discovered this Mercedes patent that was granted by the German Patent and Trademark Office last week. The drawings give the best explanation of the idea. It has to do with a roof that can open up in tandem with conventional doors. This idea has been explored before to an extent. Chinese car company HiPhi has produced a couple of models with lift-open roof panels on either side, and the Rolls-Royce 103EX concept has one huge panel that hinges on the edge of the roof. In both cases, which are cited by the Mercedes patent, the goal is to make it easier to step into the car by not having to duck under a roof rail.
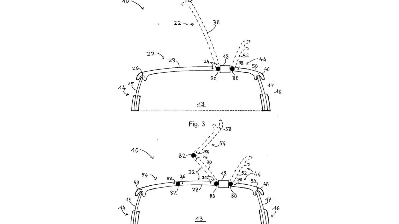
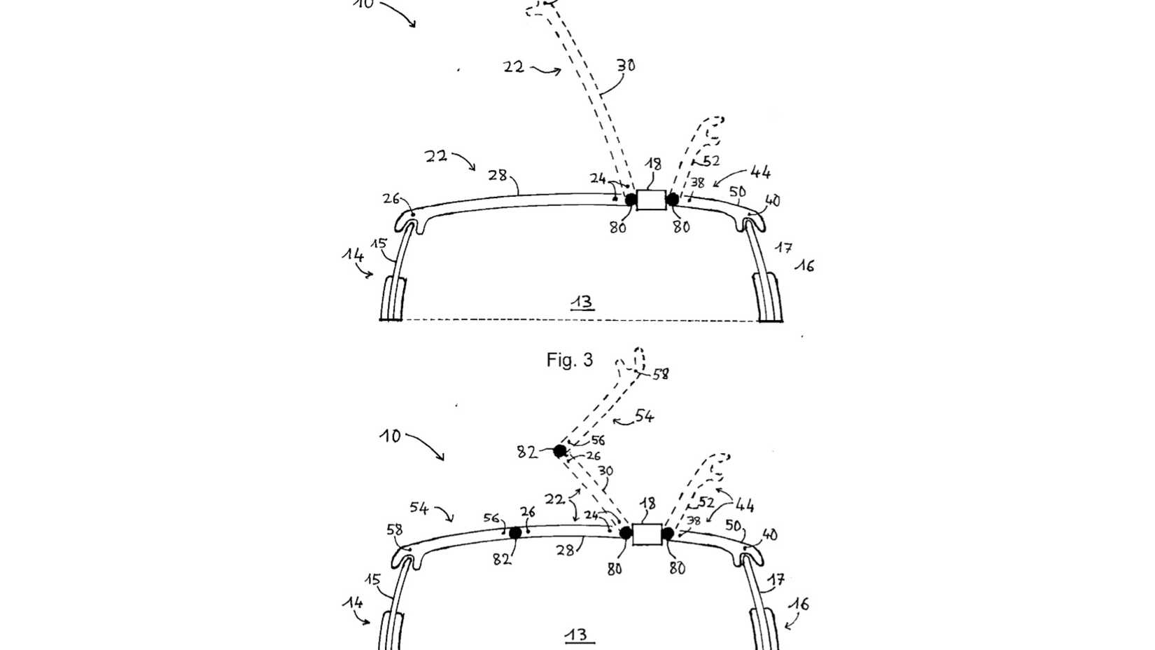
As the patent explains, though, both solutions have some drawbacks. In the case of the HiPhi solution, which uses a central hinge, that middle roof bar still gets in the way. The Rolls-Royce idea doesn't have that issue, but it has another. Pivoting the entire roof results in a panel sticking way up in the air, creating clearance problems.
The Mercedes design is meant to get the best of both designs, and it all has to do with adding more hinges. In its most extreme designs, a hinged roof could have three or four hinges, allowing the roof to open up all the way to the opposite hinge, but also keeping overall open height to a minimum. This idea could be applied to a variety of roof configurations, some with a center bar like the HiPhi, and some with the bar shifted to one side. The latter arrangement could prioritize access from one side, which could be desirable for a ride service vehicle, or maybe even a two-seat sports car that won't frequently have a passenger.
Naturally, some of the reasons fancy door and roof systems like this aren't common is the simple fact that they add complexity and cost. You have a bunch of moving panels that have to latch securely, fit properly, and keep the elements out. None of that is especially easy, and it costs money to engineer and build, which means the price of the vehicle will go up.
However, Mercedes is a luxury automaker that sells expensive cars that can be priced to cover expensive features. Many of its buyers are interested in high-tech and unique features. Plus, Mercedes has plenty of experience with complex roofs, just look at the folding hardtops it made in the 1990s and 2000s. So, we could totally see Mercedes bringing this roof design to reality without too much difficulty, even if it just ends up on some particularly high-end models.

