
There are also various height, tilt, and lumbar support adjustments to make you as comfortable as possible.There are also various height, tilt, and lumbar support adjustments to make you as comfortable as possible.
High-end cars even offer massaging seats to make commuting less stressful. Mercedes-Benz is arguably the leader in seat comfort, and CarBuzz found a new patent that takes this concept to the next level by adding a head massager to the setup. A brand like Mercedes is always looking for the next frontier of luxury features.
Mercedes Wants You To Be Comfortable
The reason for an in-car head massager seems odd at first, but the idea is a perfect extension of existing tech. As the company's filing explains, a person who is too stressed can feel "muscle strain, fatigue, and headaches, which impair the driving experience."
While the concept of an in-seat head massager seems fairly simple, the mechanism that makes it work is very complex. For example, a sensor detects the occupant's height and head position, adjusting the massaging mechanism to the perfect position.
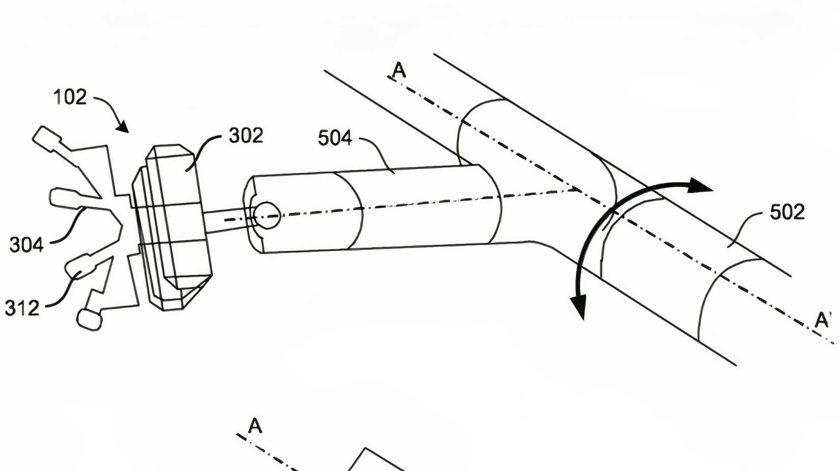
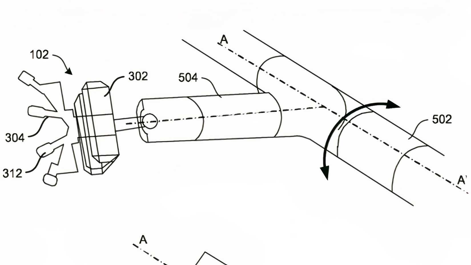
The company's idea is to mount a hub in the headrest that would connect to several arms on adjustable shafts. Each one of them would be able to move, twist, and vibrate. The whole apparatus could also pivot around to cover a person's entire head. An electric motor would drive the system, and it could be mounted in the headrest or integrated into the existing massage mechanism in the seatback.
How it Would Work
The patent describes that a person could activate the system in multiple ways. For example, there could be a button on the infotainment screen. Alternatively, someone could start it from a smartphone. From there, a system would allow adjustments to place the massaging where a person wants it.
Mercedes wants occupants to be as comfortable as possible. The company already has ways to massage other parts of a person's body, and this patent only builds on that. The various elements would allow the arm to move into an ideal position to touch an occupant's skull in the best possible spot.
Like all automakers, Mercedes is no stranger to filing patents it might not use, because the company doesn't want competitors to take the concept. While a head massager might seem useless at first, the concept could be a marketing edge against competitors.
This idea extends to other concepts aimed at keeping occupants as comfortable as possible. If folks are already sitting in chairs that can massage their backs, then their heads are the next logical frontier. Naturally, if there are abilities to massage other paths of the body, then the muscles in the head must be part of that. Rubbing the head could make traffic jams less stressful.


